|
HC41X消聲止回閥原理作用: HC41X消聲止回閥的啟閉件靠介質流動和力量自行開啟或關閉,以防止介質倒流。止回閥一般分為升降式、旋啟式、蝶式及臥式等四種類型,通式升降式止回閥應安裝于水平管路上,立式升降式止回閥和底閥一般安裝在垂直管路上,并且介質自下而上流動,旋啟式止回閥安裝位置不受限制,通常安裝于水平管路,但也可以安裝于垂直管路或傾料管路上。安裝HC41X消聲止回閥注意事項:止回閥只允許介質向一個方向流動,應特別注意介質流動方向,應使介質正常流動方向與閥體上指示的箭頭方向相一致,否則就會截斷介質的正常流動。 HC41X節能消聲止回閥適用于給排水管道,HC41X消聲止回閥閥瓣采用進口兩端中心軸導向,啟閉靈活,可水平安裝或垂直安裝。HC41X節能消聲止回閥閥瓣采用彈簧加載,其快速關閉能有效的消除水錘,密封性能好,關閉無噪聲。HC41X節能消聲止回閥具有體積小、重量輕、流體阻力小,耐疲勞、壽命長等優點。 HC41X消聲止回閥性能特點: ①閥體內腔采用流線型設計,流量按100%設計,減少急彎、拐角、尖凸,從而減少流體的阻力; ②閥瓣前后設計為錐形,使流體阻力大大減少,又減少了因紊流所產生的噪聲; ③閥瓣關閉的行程短,只有公稱通徑的1/4,減少了閥瓣的關閉時間,減少了水錘的產生; ④閥使用彈簧加速閥瓣關閉速度、降低水錘產生; ⑤閥瓣為空心薄殼結構,減少閥瓣的慣性,不但使閥瓣關閉時能迅速啟動,也減少了關閉時的沖擊噪聲; ⑥本產品可以垂直、水平、傾斜以及任何角度安裝; ⑦內外表面均噴涂環保涂層,確保產品的防腐蝕及安全性。 HC41X消聲止回閥技術參數:
HC41X消聲止回閥部件材質:
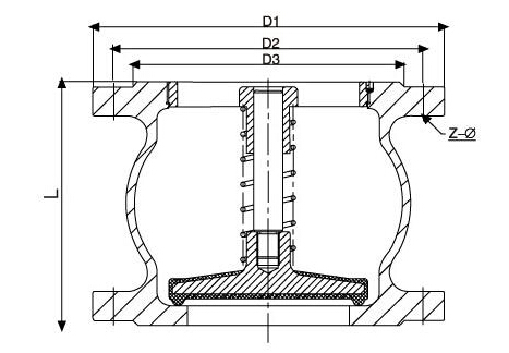
HC41X消聲止回閥外形尺寸: ![]()
|
|||||||||||||||||||||||||||||||||||||||||||||||||||||||||||||||||||||||||||||||||||||||||||||||||||||||||||||||||||||||||||||||||||||||||||||
-
閥瓣采用彈簧加載,其快速關閉能有效的消除水錘,密封性能好,關閉無噪聲
-
體積小、重量輕、流體阻力小,耐疲勞
-
閥瓣采用“子彈頭”外形設計,閥體采用“腰鼓”外形設計,改善介質流向,降低流阻系數
-
閥使用彈簧加速閥瓣關閉速度、降低水錘產生
-
骨架式橡膠密封圈直接鑲嵌在閥體上,避免了介質長時間對密封圈的直接沖刷,使用壽命明顯延長,堅固 耐用
-
閥瓣前后設計為錐形,使流體阻力大大減少,又減少了因紊流所產生的噪聲


